当前位置: 首页 > 产品大全 > 气动式锻造件机械夹手在楔横轧件生产中的应用与优势

气动式锻造件机械夹手在楔横轧件生产中的应用与优势

气动式锻造件机械夹手在楔横轧件生产中的应用与优势

随着现代制造业的快速发展,自动化生产设备在各行各业中的应用日益广泛。在锻造行业中,气动式锻造件机械夹手作为一种高效、可靠的自动化夹持工具,正逐步取代传统的人工操作,尤其在楔横轧件的生产过程中发挥着不可替代的作用。本文将探讨气动式锻造件机械夹手的工作原理、在楔横轧件生产中的具体应用及其带来的显著优势。

一、气动式锻造件机械夹手的工作原理
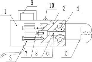
气动式锻造件机械夹手主要通过压缩空气驱动气缸,进而控制夹爪的开合动作,实现对工件的夹持与释放。其结构通常包括气动执行器、连杆机构、夹爪以及控制系统等部分。当压缩空气进入气缸时,活塞杆推动连杆机构,使夹爪闭合以夹紧工件;当压缩空气排出时,弹簧或反向气压使夹爪张开,释放工件。这种设计具有响应速度快、夹持力稳定、操作简便等特点,适用于高温、高负荷的锻造环境。

二、在楔横轧件生产中的具体应用
楔横轧是一种先进的金属塑性成形工艺,主要用于生产轴类、齿轮毛坯等对称回转体零件。在楔横轧生产线上,工件需要经过多次加热、轧制、传送等工序,传统的人工搬运不仅效率低下,还存在安全隐患。气动式锻造件机械夹手的引入,实现了以下关键环节的自动化操作:

  1. 工件上料与定位:机械夹手能够精准抓取坯料,将其放置到轧机入口位置,确保工件与模具的对准精度。
  2. 工序间传送:在连续轧制过程中,夹手可将半成品从一个工位快速转移至下一个工位,减少生产节拍时间。
  3. 成品下料与堆叠:完成轧制后,夹手自动抓取成品件,将其放置到冷却区或收集装置中,并可实现有序堆叠,便于后续处理。

三、气动式机械夹手的优势

  1. 高效性与稳定性:气动系统响应迅速,夹持动作可在秒级内完成,大幅提高生产效率;夹持力可通过气压调节,适应不同尺寸和材质的楔横轧件,避免工件损伤。
  2. 安全性与可靠性:机械夹手替代人工接触高温、重载工件,显著降低工伤风险;其结构简单、故障率低,能在恶劣的锻造环境中长期稳定运行。
  3. 灵活性与适应性:夹爪可根据楔横轧件的形状(如阶梯轴、锥形件等)进行定制设计,实现多品种、小批量生产的快速切换;结合PLC或机器人控制系统,还可实现智能化生产线的集成。
  4. 经济性:气动能源成本较低,维护简便,有助于降低企业的运营成本,并提升整体产能。

四、未来发展趋势
随着工业4.0的推进,气动式锻造件机械夹手正朝着智能化、柔性化方向发展。例如,通过加装传感器实时监测夹持力和工件位置,实现自适应控制;或与视觉系统结合,自动识别工件类型并调整夹持参数。这些创新将进一步优化楔横轧件的生产流程,推动锻造行业向高质量、高效率、高自动化的目标迈进。

气动式锻造件机械夹手凭借其高效、安全、灵活的特点,已成为楔横轧件生产中不可或缺的自动化装备。它不仅提升了生产效率和产品质量,还为锻造企业的转型升级提供了技术支撑。随着技术的不断进步,这类夹手必将在更广泛的工业领域中展现其价值,助力制造业的持续发展。

如若转载,请注明出处:http://www.yantaiguangxing.com/product/87.html

更新时间:2026-05-14 09:29:32

产品大全

Top